在制药生产排放过程中,废水具有成分复杂、有机物浓度高、毒性大等特点,对环境造成了严重的威胁。而我国的医药工程发展时间比较短,发展又特别迅速,我国是人口大国,必然是医药需求大国
[1]
。随着制药行业的技术不断革新,使得该废水水质特性发生变化,废水中总磷含量的升高成了一个突出问题。在环保要求的日益严格,总磷指标控制成了环保重点。深入分析制药废水中总磷指标,探讨总磷的来源及对环境的影响等,并采取有效的对策加以控制,对制药废水处理的深入研究具有重要意义。
Part1 材料与方法
厦门万泰沧海生物技术有限公司(以下简称“万泰沧海”)成立于 2005 年 3 月,注册资本 12 亿元,是国内知名企业“养生堂”旗下北京万泰生物药业股份有限公司疫苗板块的骨干企业,是福建省迄今为止的疫苗研发生产的民营科技企业。
万泰沧海自成立以来,专注深耕疫苗产业近二十年,致力于为人类预防疾病提供高品质并可负担的新型疫苗。
依托养生堂与厦门大学携手共建的“国家传染病诊断试剂与疫苗工程技术 研 究 中 心 (National Institute of Diagnostics and VaccineDevelopment in Infectious Diseases,NIDVD)”探索可持续发展的产学研模式,建立了全球首个重组(大肠杆菌)类病毒颗粒疫苗研制技术平台,成功研发上市全球首创的重组戊型肝炎疫苗(益可宁®);国产首支、全球第四支双价人乳头瘤病毒疫苗(馨可宁®)和首款国产、全球第二支九价人乳头瘤病毒疫苗(馨可宁®9)等重磅创新疫苗产品。
公司连续多年入选高新技术企业,重组戊型肝炎疫苗参加国家火炬计划项目,获得国家级中国专利金奖等多项称号。
近几年业务保持了高速增长,为了适应市场需求,扩大产品市场,提高公司在医药市场的竞争力。本次回顾为分别根据厦沧投〔2013〕函 59 号、厦环海审﹝2014﹞44 号环评批复,建设满足重组戊型肝炎疫苗(hepatitis E virus,HEV)、人乳头瘤病毒疫苗(大肠埃希菌)(human papilloma virus,HPV)产业化需求的良好生产规范(Good Manufacturing Practice,GMP)车间配套建立的生物制药废水处理站,准备接收处理生产车间废水。通过质量回顾,对组合工艺在新建生物制药废水处理站(以下简称“厂区污水站”)中的应用性能展开评估与分析。
在制药生产过程中,含磷原料的使用是总磷的重要来源之一,根据不同的制药工艺中含磷原料的使用情况差异较大。通常制药废水中总磷的来源主要包括以下几个方面:
原料带入:在制药生产过程中,一些含磷的原料(如磷酸盐类 PO4 3-、有机磷化合物等)会随着生产废水排出。例如,在疫苗原液的生产过程中,会使用磷酸二氢钾(KH2PO4)等作为培养基的成分,这些含磷物质在生产过程中用于工程菌培养,约 70.00%~85.00%被发酵的微生物吸收利用,部分未被完全利用的,则随废液排放进入污水处理站进一步处理。
生产工艺产生:在制药生产过程中,一些制药工艺会产生含磷的副产物或废弃物。例如,在化学反应过程中,某些反应会生成有机磷中间体,这些中间体在后续处理过程中可能会进入废水。
洗涤剂和消毒剂使用:在制药过程中,为了保证洁净度控制的需要,会使用洗涤剂和消毒剂,其中部分产品含有磷元素,这些物质在清洗器具和工艺设备后进入废水处理站。
总磷超标会导致水体富营养化,破坏水的生态环境。总磷浓度的上升同样会致使海洋出现富营养化现象,情况严重时,便会引发赤潮与绿潮。我国高度重视水环境治理工作,客观而言,近年来我国不断加强海水生态环境治理,直排海污染源污染物已经有了明显减少
[2]
。此外,总磷超标会对污水处理工艺产生不利影响。例如,在活性污泥法处理过程中,过高的总磷含量会导致污泥膨胀,降低污泥的沉降性能,影响处理效果。并且,总磷能与一些金属离子形成沉淀,堵塞管道和设备,增加运行成本。
本项目仅统计进入厂区污水站的生产废水,包括 HPV 和HEV 疫苗的生产车间废水、动物房和实验室排水。其中 HPV和 HEV 疫苗生产工艺类似,均是重组基因工程疫苗(不同的是HEV 疫苗仅含有一种抗原,而 HPV 疫苗含有两种或更多种抗原,即多价疫苗),因此进行统一描述。
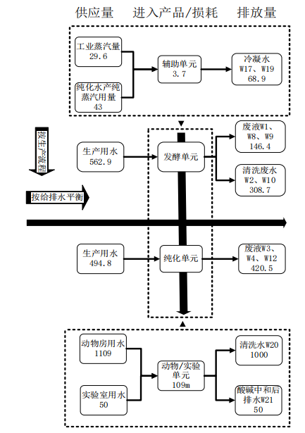
疫苗生产可分为发酵、纯化、制剂分装三个主要过程,各部分产污水环节进入厂区污水站的示意见图 1。
图 1 生产流程及产污水环节示意图(单位:m3/a)
其中:生产车间废水中发酵单元发酵废液为 W1、W8;清洗水(来自发酵罐、配液罐、管道等)为 W2、W10;HEV 疫苗离心产生的废上清液为 W9(经车间工艺设备灭菌处理后排入厂区污水站进行处理);滤膜及纯化柱再生废水为 W4、 W12(碱性废液,需要中和后排入厂区污水站处理);HPV 疫苗纯化、颗粒组装废水为 W3(水质中性,可直接排入厂区污水站);含菌废水灭菌罐灭活冷凝水为 W17;管道、发酵罐、均质机等设备灭菌冷凝水为 W19,因蒸汽使用部位及管道设置原因,冷凝水和灭菌后的废液混合在一起,进入厂区污水站进行处理。
动物房废水为 W20(主要为笼舍及器具清洗水,可直接排入厂区污水站处理);实验室排水为 W21(操作完成后,需要进行酸碱中和才能进入厂区污水站进行处理)。
本项目各部分产生的废水量及水污染物浓度情况见表 1。
表 1 各部分水污染物产生情况表
本项目产生不同废水的水质特征,遵循清污分流和分质处理、达标排放的原则,配套建设厂区内污水站,采用分质分治的处理工艺,污水经处理达标后进入厂区总排口经市政管网排入片区城镇污水处理厂。废水中粪大肠杆菌群、总余氯执行依据标准编号为 GB21907-2008 的《生物工程类制药工业水污染物排放标准》
[3]
表 2 中相关标准限值要求、常规污染物排放标准执行《厦门市水污染物排放标准》(DB35/322-2011)
[4]
中三级标准限值。项目单位产品基准排水量执行国家标准《生物工程类制药工业水污染物排放标准》(编号:GB21907-2008)[3]表2中相关标准限值要求。
将化学沉淀法、生物处理法和吸附法等多种工艺组合使用,充分发挥各工艺的优势,提高总磷的去除效率。例如,先采用化学沉淀法去除大部分无机磷,再通过生物处理法进一步去除有机磷和剩余的无机磷,最后利用吸附法进行深度处理,确保总磷达标排放。
常见的污水处理工艺主要有:活性污泥法、A/O 法、SBR
法(序批式活性污泥法)、CASS 法(周期循环活性污泥法)*a等,不同污水处理工艺特点的对照结果见表 2。
表 2 不同污水处理工艺的特点对照[5]
本项目由水污染物源强可知,废水的特点是氨氮和总磷浓度较高,污水处理的重点在于脱氮、除磷,确保废水中氨氮、总磷达标排放。污水处理工艺拟采用化学除磷沉淀+SBR 生化+消毒。
经过灭菌、酸碱中和预处理的生产车间废水分批排入调节池进行均质,调节池出水进入絮凝反应池,通过投加碱和氯化钙,磷酸盐在碱性条件下与钙离子反应生成碱式磷酸钙沉淀,反应方程式如下:
3HPO42-+5Ca2++4OH-→Ca5(OH)(PO4)3↓+3H2O
同 时 在 絮 凝 反 应 池 中 投 加 絮 凝 剂 聚 合 氯 化 铝 (Polyaluminum Chloride , PAC) 和 助 凝 剂 聚 丙 烯 酰 胺(Polyacrylamide,PAM)可以使碱式磷酸钙细小沉淀结成大块絮团,迅速沉淀,提高去除效果。
在沉淀池进行清浊分离,可使沉淀物沉淀到池底,沉淀后的污泥进行浓缩脱水,上清液溢流至集水池和实验室废水、动物房废水混合。
本项目化学除磷阶段总磷去除效率按照 95.00%计算,那么经化学除磷后,生产车间的废水排放情况见表 3。
表 3 化学除磷后生产车间废水排放情况表
若化学除磷设置容积为 10.0 m3的调节池,可满足 4 条线预处理的废水排放量约 7.2 m3;调节均质后的生产车间废水进入化学除磷工序,水量约为 3.8 m3/d,可设计 5.0 m3/d 处理能力来满足需求。
化学除磷后的生产车间废水、动物房废水和实验室废水混合均质后进入 SBR 进行生化处理。
在 SBR 运行过程中,一个池体依照 5 个阶段排序,大体分为:进水期、反应期、沉降期、排放期和闲置期,这 5 个阶段会完成均化、初沉、生物降解、终沉等一系列过程。这样依次反复运行,则构成了序批式处理工艺,见图 2。
图 2 SBR 工艺流程示意图
SBR 工艺具备以下显著优势:
理想的推流过程,极大增强了生化反应的推动力,有效提升处理效率。池内厌氧与好氧环境交替出现,污水净化效果十分出色。
运行稳定性极佳,污水在近乎静止的状态下沉淀,耗时短且效率高,确保了优良的出水水质。
具备强大的耐冲击负荷能力,池内留存的处理水可对污水起到稀释和缓冲作用,能有效抵御水量波动和有机污染物的冲击。
工艺灵活性高,各工序可根据实际水质和水量灵活调整,以适应不同处理需求。
设备数量少且构造简单,无论是日常操作还是维护管理都轻松便捷。
反应池内存在 DO、BOD5 浓度梯度,可有效抑制活性污泥膨胀现象的发生。
该工艺适合采用组合式构造,为废水处理厂的扩建和改造提供了便利。
脱氮除磷效果良好,通过合理控制运行模式,实现好氧、缺氧、厌氧状态的交替,高效去除氮磷。
工艺流程简洁,造价低廉。主体仅需一个序批式间歇反应器,无需二沉池和污泥回流系统,甚至可省略调节池和初沉池,布局紧凑,节省用地。
根据《序批式活性污泥法污水处理工程技术规范》(HJ577-2010),SBR 污水处理工艺中,CODCr 的去除效率为70.00%~90.00%,BOD5 的去除效率为 70.00%~90.00%,氨氮的 去 除 效 率 为 85.00%~95.00% , 总 磷 的 去 除 效 率 为50.00%~85.00%,那么本项目经 SBR 工艺后计算可知,排放的水污染物浓度达到国家规定的排放标准(或纳管标准),进出口浓度及污染物排放情况见表 4。
表 4 SBR 工艺进出口浓度及污染物排放情况表
依据法规要求的《生物工程类制药工业水污染物排放标准》(编号为:GB21907-2008)[3],生物制药类企业的排水必须满足粪大肠菌群数少于 500 MPN 个/L,为此设计消毒工序,常用的消毒剂有氯、次氯酸钠、二氧化氯等。其中二氧化氯被称为第四代杀菌消毒剂,二氧化氯与氯、次氯酸钠比较具有许多优点,二氧化氯在低浓度下具备高效的杀菌和抗病毒能力。在水消毒应用中,只需将其浓度控制在 0.5~1 mg/L,短短 1 min内,就能杀灭水中高达 99.00%的细菌。其灭菌效果十分显著,是氯的 10 倍、次氯酸钠的 2 倍。在抑制病毒方面,它的能力比氯高出 3 倍,比臭氧高出 1.9 倍。而且,二氧化氯的消毒效果不受水的硬度和盐分含量的干扰,能够在较长时间内持续发挥杀菌作用。此外,它还可以高效地清除原生动物、孢子、霉菌、水藻以及生物膜等;使用二氧化氯消毒还可避免排水中余氯偏高的问题,从而满足排水中粪大肠菌群和总余氯的处理要求。
综上所述,新建厂区污水站采用组合工艺对生物制药废水的防治措施切实可行,废水达标后排入市政管网,不直接排入周边地表水体,因此对周围地表水环境影响低。
项目生产废水分为含菌废水和一般废水。其中,含菌废水经灭活预处理后与一般废水纳入新建厂区污水站(组合工艺);生活污水经化粪池预处理后和经本工程新建厂区污水站处理达标的生产废水一同经厂区废水总排口排入市政管网,最终纳入该片区的城镇污水处理厂深度处理,不直接排入外环境。
根据废水性质,分质分治进入新建厂区污水站,处理工艺主要可分为 3 大系统:含菌废水灭菌处理系统、含磷废水处理系统、生化废水处理系统,处理工艺流程示意见图 3。
图 3 污水站工艺流程示意图
来水由于属于批次排放的废水,因此浓度、成分及水量都具有非常大的波动,处理系统需耐冲击能力,为此设计日处理能力稳定在 42.0 m3/d(当来水量批次少时,可以切换在 1#线进行处理≤12.0 m3/d),24 h 连续运行。
含菌废水灭菌处理系统:收集前端经工艺设备灭菌预处理后排放含菌废水,均衡水质水量,作为灭活的分段进水。含菌废水在灭活罐系统中采用工业蒸汽加热高温灭菌,进一步去除废水中的菌类。
含磷废水处理系统:化学除磷沉淀,调节水质水量,亦为后级的生化处理系统的稳定运行提供极为有利的条件。
生化废水处理系统:厌氧、好氧的交替,去除有机物及大部分磷,脱氮除磷后出水经消毒单元,从而保证排放的水污染物浓度达到国家规定的排放标准(或纳管标准)。现场安装调试示意图 4。
图 4 现场示意图
根据第三方 CMA 资质单位(China inspection body and laboratory mandatory approval“检验检测机构资质认定”,CMA)采样检测和项目验收结果表明,组合工艺在新建生物制药废水处理站中的应用符合本项目预期设计方案的评估要求,本项目污染物排放标准要求见表 5。
表 5 本项目废水污染物排放标准*a
与此同时,厂区污水站处理系统运行稳定。通过数据收集整理,处理排水量(以每月 325 t 计),CODcr 较低情况下,需要通过添加面粉或葡萄糖为微生物提供必要的营养物质,能够促进细菌的大量繁殖,提高污水的可生化性,特别是在缺氧或厌氧条件下,补充碳源有助于活性污泥的形成和微生物的繁殖,促进提高脱氮除磷的去除率效果(但需要注意添加量,避免引起污泥膨胀和出水 CODcr值的增加),水处理规模情况见表 6。
表 6 水处理规模一览表
本项目方案一开始就考虑了项目废水氨氮和总磷浓度较高的特点,通过补充碳源促进微生物生长,利用微生物的代谢的作用来去除氨氮和总磷。这种针对性的设计使得组合处理工艺能够更好地适应废水的特性,提高处理效果。
虽然补充碳源有助于提高脱氮除磷效果,但添加量的控制较为困难。如果添加量过多,可能会导致污泥膨胀问题。污泥膨胀会使污泥的沉降性能变差,影响污水处理系统的正常运行,甚至可能导致出水水质恶化。过量的碳源还会导致出水COD
Cr
值增加,使得处理后的水质无法达到排放标准。因此,准确控制碳源的添加量是该方案实施过程中的一个难点。
一方面,此方案化学法药剂消耗少。此方案主要依靠生物法处理污水,通过补充碳源促进微生物的生长和代谢来去除污染物,相较于化学法,大大减少了化学药剂的使用量。化学药剂不仅购买和使用成本较高,还可能产生二次污染,而该方案在降低处理成本的同时,也更加环保。
另一方面,生物法污泥产量低。物法处理污水过程中产生的污泥量相对较少,减少了污泥处理和处置的成本。污泥处理和处置是污水处理过程中的重要环节,成本较高,该方案的低污泥产量特点使其在经济上更具优势。
在工业废水处理方面,许多工业废水如化工、食品加工等行业的废水,通常具有氨氮和总磷浓度较高、CODcr 较低的特点。可以为这些工业废水的处理提供一种有效的方法,降低处理成本,提高处理效果。
在生活污水处理方面,在一些小型生活污水处理设施中,由于处理规模较小,采用传统的污水处理工艺可能成本较高。这种方案以低成本优势使其在小型生活污水处理中具有一定的应用前景,可以为农村、乡镇等地区的生活污水处理提供解决方案。
此外,对于其他类似的污水处理项目,方案的设计思路和技术方法可以作为参考。例如,在处理含有特定污染物的废水时,可以通过补充合适的碳源来促进微生物的生长,提高处理效果。同时对碳源添加量的控制和微生物适应性的考虑等问题,也可以为其他项目提供经验教训。
综上所述,本项目研究在污水处理中具有一定的优势和应用前景,但也存在一些不足之处。在实际应用中,需要根据具体的废水水质和处理要求,对方案进行优化和改进,以提高处理效果和降低成本。
新建厂区污水站配备了专业的管理团队,安排有专职人员负责公司环境管理相关工作,并且专门设置了环境管理人员岗位。在本废水处理组合工艺系统建设完成后,将制定相应的标准作业程序(Standard Operating Procedure,SOP)和管理规定,待获得相关部门批准后,厂区污水站将正式投入运营。
组合工艺通过合理设计流程,采用节能设备和技术,如高效曝气系统、节能水泵等,可以进一步降低厂区污水站的能耗。同时,组合工艺可以将处理后的污泥进行深度处理,使其达到一般固废标准,实现资源的循环利用。例如,采用 SBR/生化工艺和叠螺机的组合对处理污泥进行深度处理,处理后的干污泥可以进入一般固废回用,缓解营养源短缺的问题。
Part3 讨论
在制药行业的环保工作中,制药废水中氨氮、总磷指标的控制至关重要。通过对实际案例的深入剖析,充分验证了所采取对策的有效性。后续将构建完善的日常运营管理方法,在未来的工作中,持续强化技术创新,不断优化处理工艺,实现对制药废水的有效管控,切实保护生态环境。
传统污水处理技术在处理低 CODCr、高氨氮和总磷的制药废水时存在局限性,多采用单一的化学沉淀法(主要依靠添加化学药剂去除氨氮和磷,但对于低 CODCr 废水,微生物生长受限,脱氮除磷效果不佳)或生物硝化-反硝化法(依赖污水自身碳源进行反硝化脱氮,低 CODCr 废水中碳源匮乏,难以实现高效脱氮除磷)。而本方案通过添加面粉或葡萄糖等易于获取的碳源,从根源上解决了低 CODCr 废水碳源不足的难题,为反硝化细菌和聚磷菌等微生物提供了充足的能量来源,突破了传统方法受限于污水自身碳源的瓶颈。
现有的污水处理工艺结构相对固化,针对低 CODCr 废水处理可能会额外增设化学药剂投加装置,但整体结构繁杂,各处理单元相对独立,缺乏针对碳源补充与微生物生长协同作用的优化设计。本方案在现有污水处理结构的基础上,巧妙融入碳源补充环节,可在曝气池前端或厌氧池、缺氧池等关键位置设置碳源投加装置,确保碳源及时、均匀地与污水混合,为微生物营造适宜的生长环境。这种结构创新使污水处理系统更具灵活性,能根据废水水质实时变化调整碳源投加量,提高了处理效率,同时简化了工艺流程,降低了建设成本和占地面积。
现有的处理技术在处理低 CODCr、高氨氮和总磷废水时,脱氮除磷效果往往不尽如人意。化学法虽能快速去除磷,但对氨氮的去除效果有限,且易产生大量化学污泥,增加处理成本;生物法在碳源不足的情况下,微生物活性受到抑制,导致脱氮除磷效率低下。而本方案通过补充碳源,显著提升了微生物的活性和数量,增强了系统的脱氮除磷功能。在脱氮方面,能高效地将氨氮转化为氮气,大幅提高去除率;在除磷方面,促进了聚磷菌的生长和代谢,实现了磷的有效去除。此外,方案具有良好的适应性和稳定性,能应对废水水质的适量波动,需适当调整碳源添加量,即可维持系统的运行。
运行管理对运行效果有着显著影响。完善的运行管理能够确保碳源的精准投加,保证微生物在适宜的环境中生长和代谢。通过建立科学的监测体系,实时掌握废水水质和处理过程中的各项参数,及时调整运行策略,如根据水质变化调整碳源投加量、曝气时间等,从而提高脱氮除磷的效果。同时,有效的运行管理还能保障设备的正常运行,减少故障发生的概率,提高处理系统的稳定性和可靠性,进而提升整体运行效果。
制药废水中的化学物质比较复杂,若不对其进行净化处理,则很容易会对周围环境产生不利的影响。因此,制药企业及相关技术人员,应不断创新废水处理工艺,根据不同的废水指标,合理地选择处理工艺,保证工艺的有效进行
[7]
。本项目成功解决了低 CODCr 废水碳源不足导致微生物生长受限、脱氮除磷效果不佳的问题,避免了传统化学法药剂消耗大、污泥产量高以及生物法受碳源限制的弊端,降低了处理成本,提高了处理效率。
随着生物制药行业的迅猛发展和环保要求的日益严格,对污水处理的效果和成本提出了更高的要求。本方案以其低成本、高效处理的特点,满足了市场的需求。同时,在工艺设计方面,应具备前瞻性和灵活性,以适应未来的发展需求。例如污泥具有良好的应用价值。未来应当积极探索其无害化处理技术应用方式,确保污泥材料能够得到科学处置,为后续资源化转变做好准备。在资源化处置过程中,应当结合污泥的实际情况,探索最佳转化方向,使其产物可以得到充分利用,为发挥污泥材料经济性打下坚实基础
[8]
。
综上所述,组合工艺在新建生物制药废水处理站的应用方案具有诸多优势和应用前景,但也存在一些不足之处,在实际应用中根据具体的废水水质和处理要求,进行优化和改进,以提高处理效果,同时建立持续改进机制,鼓励创新,积极探索新的设计理念和方法,提升工艺的设计水平和竞争力,为制药行业的环保工作做出更大贡献。
[1]欧阳俊.医药工程设计进度关键影响因素研究——以 LR 制药项目为例[D].郑州大学,2019. [2]王博,刘大喜,罗朝,等.我国水域的磷污染及其治理[J].环境科学学报,2023,43(5):6-7. [3]中华人民共和国国家质量监督检验检疫总局,中国国家标准化管理委员会.(2008).生物工程类制药工业水污染物排放标准(GB 21907-2008).中国标准出版社.
[4] 福 建 省 质 量 技 术 监 督 局 . (2011) . 厦 门 市 水 污 染 物 排 放 标 准(DB35/322-2011).
[5]李强,秦健南,陈平,等.污水处理设备的智能控制管理系统的设计及应用[J].甘蔗糖业,2024,53(6):59-60.
[6] 福 建 省 市 场 监 督 管 理 局 . (2018) . 厦 门 市 水 污 染 物 排 放 标 准(DB35/322-2018).
[7]陈艳红.化学合成制药废水处理难点及对策[J].清洗世界,2024,40(1): 54.
[8]李晓东.污泥无害化处理与资源化利用的关键技术研究[J].化工管理,2022(12):47.
评论
加载更多