药品生产对环境的洁净等级要求与药品的品种、剂型和生产特点有关。生产同一种产品多数情况下可采用多种不同的生产路线,即使采用相同的原料路线,具体的工艺安排或操作指标也有差别,到底采用哪种生产路线,必须对路线进行经济评价分析,找到技术先进,产品成本低,收率高,投资少,能耗低,同时又完全环保的工艺路线。
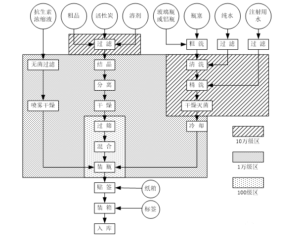
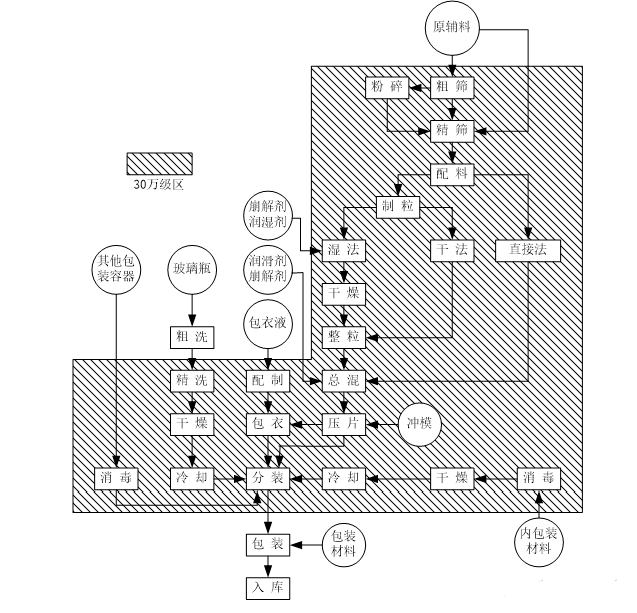
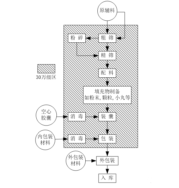
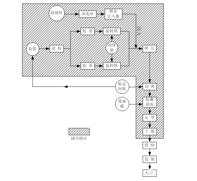
常见药品生产的典型工艺流程及环境区域划分如图1-1至图1-9。

图1-1 非无菌原料药精制、干燥、包装工艺流程框图及环境区域划分

图1-2 无菌原料药精制、干燥、包装工艺流程框图及环境区域划分

图1-3 片剂生产工艺流程框图及环境区域划分

图1-4 硬胶囊剂生产工艺流程框图及环境区域划分

图1-5 压制法软胶囊剂生产工艺流程框图及环境区域划分

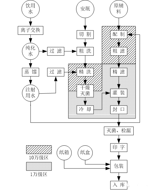
图1-6 可灭菌小容量注射剂生产工艺流程框图及环境区域划分

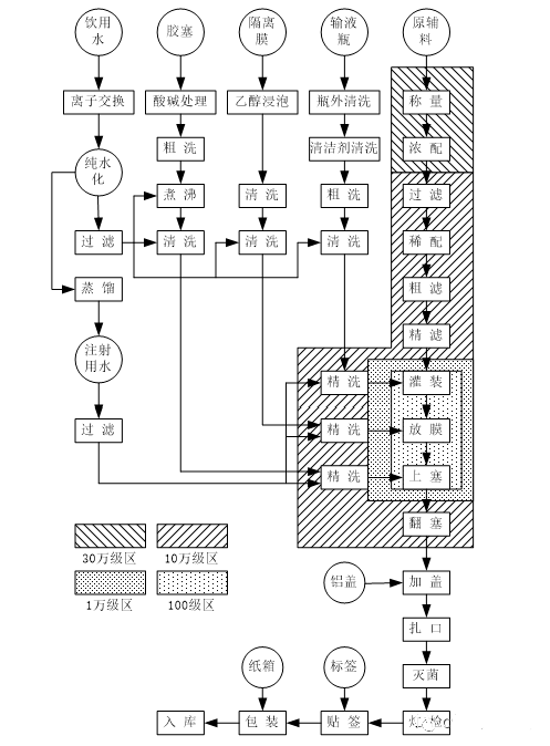
图1-7 可灭菌大容量注射剂生产工艺流程框图及环境区域划分

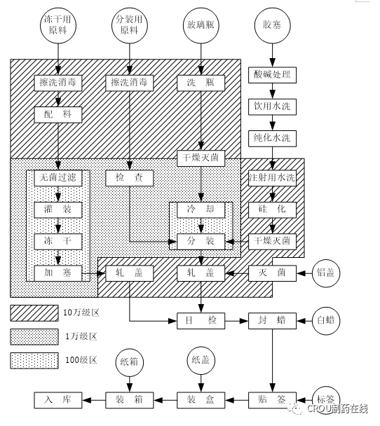
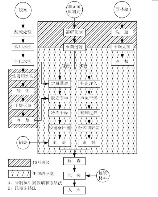
图1-8 注射用无菌分装产品生产工艺流程框图及环境区域划分

图1-9 注射用冷冻干燥制品生产工艺流程框图及环境区域划分
邵丽竹
何发
2025年9月25日,在第二十五届中国国际工业博览会期间,松下电器机电(中国)有限公司工业自动化系统BU(以下简称“松下”)举行“中国动力、全球加速”为题的媒体交流会。
2025-09-28 松下电器
制药生产人员应关注生产危害的预防和减轻风险的发生,包括与化学药品的接触、由工艺危害影响的身体伤害、由外界环境排放污染物质影响的身体伤害、由火灾或爆炸引起的人身伤害。
2025-09-23 唐现岭,张霞
2026-03-10
2026-03-12
2026-04-13
2026-03-25
2026-04-20
2026-03-06
2026-03-10
本文以某制药产线的灌装机设备为研究对象,采用计算流体动力学(CFD)仿真技术对充氮装置的充氮性能进行分析,并结合分析结果对氮幕结构进行了优化设计。随后,针对优化方案进行性能仿真验证,结果显示优化后的顶空残氧量降低至0.252%。为了进一步验证优化方案的实际效果,将优化方案应用于实际产线进行性能测试,测得的顶空残氧量为0.68%,这一结果满足了小于1%的要求,表明其充氮保护性能已达到国际先进水平。
作者:王志刚、刘依宽、刘佳鑫
评论
加载更多